近日,由刘庄矿业牵头研发的“一种矿用分级注浆加固装置”获得国家知识产权局发明专利授权。此项发明专利的成功授权,是刘庄矿业深化科技创新、强化知识产权保护的又一重要成果。
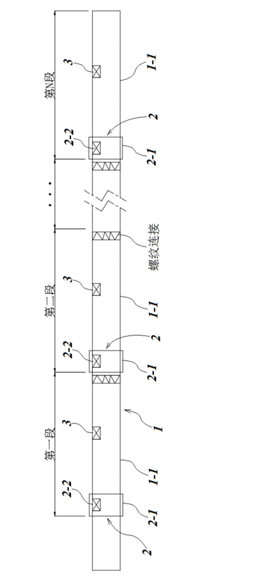
该装置创新性地在注浆管上设置分段封堵器,将注浆管沿长度方向分隔为多个独立注浆段,每个注浆段均配备双向安全阀,且注浆管孔底一端封闭。通过科学设定压力参数,双向安全阀的打开压力大于分段封堵器注浆压力,关闭压力大于打开压力,同时从孔口到孔底的安全阀关闭压力依次递增。这一精妙设计实现了注浆过程的精准分级控制:钻孔内先形成独立注浆空间,孔口区域以低压注浆避免裂隙跑浆,孔底区域以高压实现深孔劈裂注浆,让浆液充分填充围岩裂隙,大幅提升加固效果,从根本上解决了传统注浆技术压力调控难、加固不均匀的问题。
下一步,该矿将继续以井下实际需求为导向,加快专利技术的转化应用与迭代升级,持续深耕煤矿支护、智能开采等核心技术领域,不断培育创新动能,为打造安全高效、绿色智能矿山注入更强科技力量。

